芯城品牌采购网 > 品牌资讯 > 技术方案 > 基于DSP和FPGA芯片实现基带处理单元的设计方案

基于DSP和FPGA芯片实现基带处理单元的设计方案

芯城品牌采购网

27159

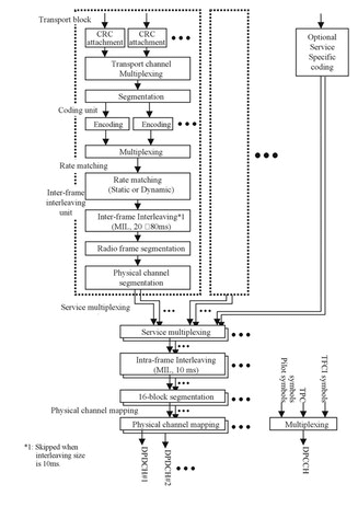
TD-SCDMA系统的基带处理流程如图1所示。其中,传输信道编码复用包括以下一些处理步骤:CRC校验、传输块级联/分割、信道编码、无线帧均衡、第 1次交织、无线帧分割、速率匹配、传输信道复用、比特扰码、物理信道分割、第2次交织、子帧分割、物理信道映射等,如图2所示。

3-1.gif

图1 TD-SCDMA基带处理框图

3-2_112.gif

图2 传输信道编码复用结构

在图2中,每个传输信道(TrCH)对应一个业务,由于各种业务对时延的要求不同,所以其传输时间间隔(TTI)是不同的,TTI可以是10ms、20ms、40ms或80ms。

实现方案

本文提出了DSP+FPGA线性流水阵列结构的实现方案:使用DSP与大规模FPGA协同处理基带发送数据。该处理单元以DPS芯片为核心,构造一个小的DSP系统。


在基带处理单元中,低层的信号预处理算法处理的数据量大,对处理速度的要求高,但运算结构相对比较简单,因而适于用FPGA进行硬件实现,这样能同时兼顾速度及灵活性。相比之下,高层处理算法的特点是所处理的数据量较低层算法少,但算法的控制结构复杂,适于用运算速度高、寻址方式灵活、通信机制强大的DSP芯片来实现。

基带处理单元的需求估计

基带处理单元的需求估计主要包含以下两个方面:

1.各个业务传输通道的数据处理:以对称情况下无线信道承载的最高业务速率384kbps为例进行分析。传输块大小为336bit,24块级联,加上 CRC,系统在1个10ms帧内所要处理的最大数据量为8448bit:根据3GPP协议TS 25.222规定的下行数据基带处理流程(见图2),并按固定位置复用的方式进行处理,每个数据位必须经过最多13个环节的处理过程,估算平均每环节上每比特的处理要求为23条指令。则10ms内必须完成的处理指令数是:8448×13×23=2525952条。对应的处理能力要求是252MIPS。

2.消息处理:包含消息的解释、对应控制参数的计算、发给对应的FPGA。估计不超过一条承载64kbps业务的无线信道的基带数据处理的需求。

综合考虑上述两个方面,则整个基带数据处理的等效需求是:

以TMS320C5510为例,其主时钟能工作在160MHz或200MHz,运算速度达400MIPS。基于C的软件开发环境和汇编级并行处理的优化程序,优化后的并行执行效率一般为80%,等效的处理能力为320MIPS。可见,若将整个基带数据处理交给该DSP芯片完成,其处理能力无法满足整个处理单元的需求,而且,随着视频电话、手机电视等大数据量业务的应用,数据处理需求量将更大。因此,在基带处理的实现方案中,数据量小的业务,如随路信令、 AMR语音业务可由DSP处理;而数据量大的业务,如64kbps、144kbps和384kbps速率的业务,大部分处理环节由FPGA完成。具体实现如下:


DSP作为主控单元,完成数据提取、消息解析和部分基带数据处理功能,如第二次交织和成帧等;

FPGA则在DSP的调度下完成基带数据处理环节中大部分比较耗时的处理功能,如:CRC校验、信道编码、速率匹配等,在接收端可用于Viterbi译码、联合检测等。

在384kbps业务信道加随路信令的处理中,384Rbps业务数据由DSP通过同步高速接口,以DMA方式递交给FPGA,在FPGA中处理;而随路信令因其数据量小,在FPGA处理384kbps业务数据时,随路信令数据在DSP中同时处理。此方法减少了数据处理时间,提高了处理速度。

结语

本文介绍了一个软硬件结合的设计方案。硬件电路的实际测试表明,该结构不仅在高速率业务的处理时延上符合规范要求,而且对不同类型的业务处理有较强的适应能力,满足TD-SCDMA系统对多媒体业务传输的支持。


免责声明:
文章内容转自互联网,不代表本站赞同其观点;
如涉及内容、图片、版权等问题,请联系2644303206@qq.com我们将在第一时间删除内容!